Fine wire spools from Luma Wire Tech are designed to protect ultra-thin wires during transport, storage, and production. The right spool prevents kinks, maintains surface finish, and ensures stable tension during unwinding. For industries like aerospace, medical, defense, and electronics, spool quality is directly linked to wire reliability and overall system performance.

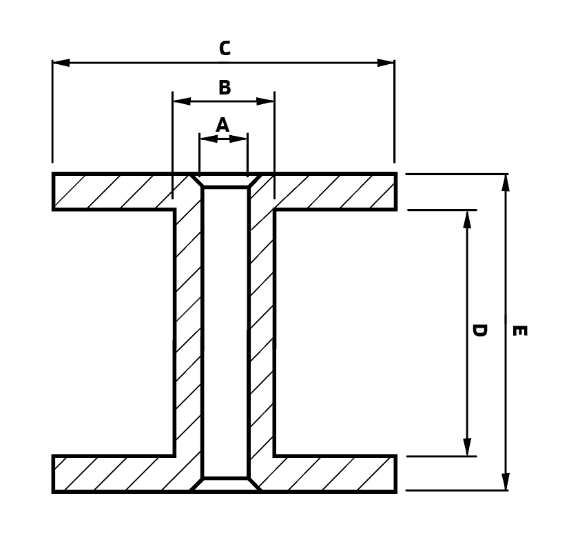
| SPOOL | A | B | C | D | E | Net grams | Material | Often used for | Plastic container |
|---|---|---|---|---|---|---|---|---|---|
| Diameter | Bore | Spool | Flange | Trav W | Max W | ||||
| TYPE | mm | mm | mm | mm | mm | ||||
| R3 | 11 | 17 | 20 | 11 | 15 | 3.1 | ABS | thin wire < 0,3 mg | |
| R15 | 10 | 40 | 52 | 20 | 26 | 33 | ABS | non plated wire | |
| R24 | 95 | 102 | 116 | 20 | 27 | 45 | ABS | non plated wire | available |
| K40 | 11 | 25 | 40 | 37.5 | 50 | 16 | PS, ABS | plated wire | available |
| K50 | 11 | 32 | 50 | 38 | 50 | 22 | PS, ABS | plated wire | available |
| K63 | 11 | 40 | 63 | 49 | 63 | 40 | PS, ABS | plated wire | available |
| K100 | 16 | 63 | 100 | 80 | 100 | 125 | PS, ABS | plated wire | avaiiable |


A spool with a vacuum sealed plastic container.
All our fine wire spools can be delivered vacuum-sealed to ensure maximum protection during shipping and storage. This prevents oxidation, moisture exposure, and contamination. All of which are critical factors for ultra-thin wires and gold-plated surfaces. Spools are engineered for:
Dimensional stability
Protection against contamination
Smooth unwinding for ultra-fine wire diameters
Long-term storage safety
In addition to standard reels, Luma provides custom solutions. Customers can specify reel dimensions, materials, or packaging requirements based on application needs.
With over 90 years of experience producing precision fine wires, Luma understands that spool design and packaging are as critical as the wire itself. By offering both standard and custom fine wire spools, we help customers achieve consistent quality, reliability, and performance.
Contact us to discuss the best reel option for your application.
Are all reels vacuum sealed?
Yes. Every fine wire spool from Luma Wire Tech is delivered vacuum sealed as standard. This protects the wire against oxidation, moisture, and contamination during transport and storage, ensuring maximum quality preservation.
What sizes of reels are available?
We supply spools in a wide range of sizes to accommodate ultra-fine wires from 4 to 300 microns in diameter. Custom spool dimensions are available upon request.
Why is vacuum sealing important for fine wires?
Ultra-fine wires, especially gold-plated ones, are highly sensitive to environmental factors. Vacuum sealing maintains surface integrity and prevents premature degradation, ensuring reliable performance in critical applications.
Can reels be customized for specific projects?
Yes. We offer tailored spool sizes, labeling, and wire lengths depending on your project’s requirements. All spools are traceable and manufactured under ISO-certified processes.
Gold-plated, polished and clean metal wires for demanding technical applications.

Our team support demanding wire applications.